IP Desk Dimensions & Mounting Instructions
From Zenitel Wiki
| Dimensions (WxHxD) | Weight | Partnumber | |
| IP Desktop Master with Handset | 225 x 176 x 75 mm | 0.7 kg | 1008001000 |
| IP Desktop Master | 168 x 176 x 75 mm | 0.5 kg | 1008000000 |
| IP Flush Master | 125 x 280 x 33 mm | 0.63 kg | 1008031000 |
| IP OR Master | 125 x 280 x 30 mm | 0.63 kg | 1008015000 |
| IP Dual Display Station | 72 x 270 x 139 mm | 0.4 kg | 1008007000 |
| Master Station Kit | 88 x 152 x 20 mm | 250 g | 1008093000 |
| Gooseneck Microphone | 300 mm (length) | 0.09 kg | 1008097500 |
| DAK-48 Unit | 125 x 280 x 30 mm | 0.65 kg | 1008010100 |
| Handset - IP Flush Master | 67 x 280 x 41 mm | 0.4 kg | 1008097100 |
| IP Vandal Resistant Substation | 92 x 180 x 46 mm | 0.8 kg | 1008041100 |
| IP Vandal Resistant Substation (3 gang) | 114 x 160 x 60 mm | 0.8 kg | 1008051000 |
| Substation Kit | 72 x 110 x 20 mm | 0.1 kg | 1008090200 |
| IP Heavy Duty | 205 x 320 x 120 mm (148 mm with door) | 5.0 kg | 1008072200 |
| IP Video Door Station - CP | 150 x 260 x 45 mm | 1.0 kg | 1401110100 |
| IP Video Door Station - Axis | 150 x 260 x 45 mm | 1.0 kg | 1401110200 |
IP Desktop Master Station with Handset
Dimensions
Wall Mounting
IP Desktop Master Station
Dimensions
Wall Mounting
IP Flush Master Station
Dimensions
Backboxes
Backboxes for flush mounting and surface mounting are available for the IP Flush Master Station.
IP OR Master Station
Mounting and Demounting
The station is securely fastened to the backbox using the four retention pegs supplied.
To mount the station:
- Insert the four plastic retainers into the larger and inner of the holes at each corner of the backbox.
- Align the four retention pegs with the four plastic retainers and push the station down until flush with the backbox.
To demount the station, follow the instructions precisely:
- Using a flat-head screwdriver, gently pry loose each retention peg from the four corners. Make sure to pry loose each peg gradually so that all four pegs remain at an even plane during the whole process.
- When the retention pegs are loose enough, lift the station out, making sure to keep the station at an even plane as it is lifted out from the backbox.
Caution! Do not lift the station at an angle as this may damage the pegs.
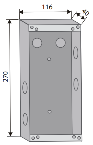
Backbox
IP Dual Display Station
Dimensions
IP Master Station Kit
Handset - IP Flush Master Station
Backbox
IP Substation
Dimensions
Flush Mounting
The IP Vandal Resistant Substation (part no. 1008041100) can be mounted in a flush mount backbox (part no. 1008098100) or a surface mount backbox (part no. 1008098000).
Surface Mounting
IP Substation (3 Gang)
Dimensions
Flush Mounting
The IP Vandal Resistant Substation (part no.1008051000) is flush mounted in a 3 Gang backbox (part no. 1008098300).
IP Substation Kit
Dimensions
Mounting & Assembly Kit for IP Substation
- part no. 1008091000
The mounting and assembly kit includes gaskets, a 2-inch loudspeaker, loudspeaker housing, and microphone with mounting block for call LED.
