Actions

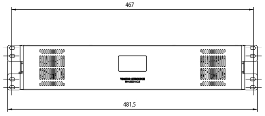
ENA2200-AC2 - Dimensions

From Zenitel Wiki

  • Dimensions (HxWxD): 87 x 482 x 372 mm (2HU)
  • Weight: 11.2 kg
  • Shipping Weight: 12.5 kg
Topside view
Front view
Side view
Rear view
MediaWiki spam blocked by CleanTalk.