Mounting Card reader on TEIV-4+
From Zenitel Wiki
The TEIV-4+ has a card reader slot, fitting either:
- HID Signo 20 ReaderTerminal Strip
- TWN4 Palon Compact LEGIC PCB
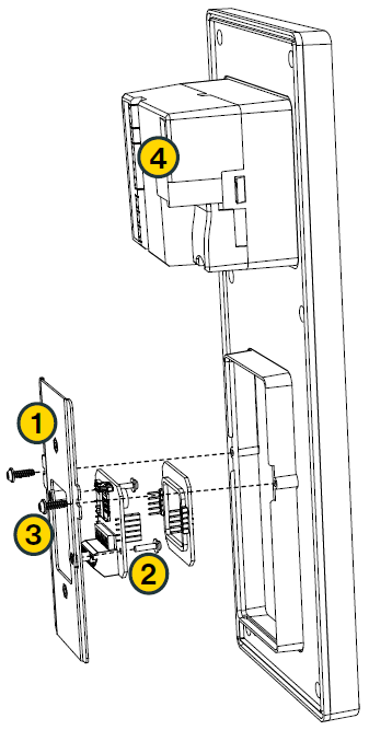
Do the following when mounting the card readers:
HID Signo 20 Reader Terminal Strip
- Unscrew the Card Reader Bracket. Make sure the Self-Clinching Standoffs are facing outwards.
- Remove the back lid from the card reader, and fasten the lid to the Card Reader Bracket. Then reattach the card reader to the lid.
- Fasten the Card Reader bracket to the TEIV-4+.
- Terminate the card reader to an I/O port on the TEIV-4+.
TWN4 Palon Compact LEGIC PCB
- Unscrew the Card Reader Bracket. Make sure the Self- Clinching Standoffs are facing inwards.
- Separate the two parts of the card reader and attach the part with screw holes to the Card Reader Bracket. Then reassemble the card reader.
- Fasten the Card Reader bracket to the TEIV-4+.
- Terminate the card reader to an I/O port on the TEIV-4+.


