ITSV-5
From Zenitel Wiki


Phone setup
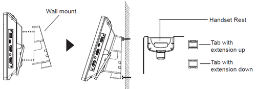
Wall mount
The Wall Mount Bracket for ITSV-5 is sold separately. Item no. 1490009007

Installing the Phone with Wall Mount
- Attach the wall mount to the slots on the back of the phone.
- Attach the phone to the wall via the wall mount hole.
- Pull out the tab from the handset cradle (see figure below).
- Rotate the tab and plug it back into the slot with the extension up to hold the handset while the phone is mounted on the wall.

Using the Phone Stand
The ITSV-5 has a built-in phone stand. To use it, pull out the phone stand handle on the back of the phone. Adjust the angle as preferred and make sure the phone stands still on the desktop.

Connecting the phone
- Connect the handset and main phone case with the phone cord.
- Connect the LAN port of the phone to the RJ-45 socket of a hub/switch or a router (LAN side of the router) using the Ethernet cable.
- Connect the 12V DC output plug to the power jack on the phone; plug the power adapter into an electrical outlet. If a PoE switch is used in step 2, this step could be skipped.
- The LCD will display booting up or firmware upgrading information. Before continuing, please wait for the main screen display to show up.
- Using the web configuration interface or from the menu of the touch screen, you can further configure network connection using static IP, DHCP… etc.

Tips for using the ITSV-5 Keys

Configuration
The ITSV-5 operates in SIP mode. Choose one of the links below depending on what kind of server the station should register to.
